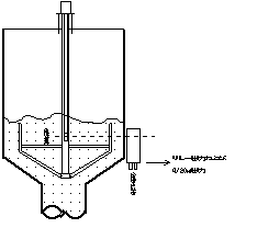
GL−1500は線源部、本体部の2つの部分から構成されています。線源部と本体部は容器をはさんで対向する位置に設置されます。線源部から放出されるガンマ線は、容器壁を通過したのち、容器内の物体を透過し、さらに容器壁を通過したのち本体部の検出器で検出されます。
ガンマ線の検出はシンチレーション検出器で行われますが、その出力は電気パルスとなります。検出器部に到達するガンマ線の強度(時間当りのガンマ線の数)と電気パルスの計数率(時間当りのパルス数)は比例しますので、このパルス計数率で、到達したガンマ線の強度が判ります。
さて、線源部から放射されたガンマ線の強度は、容器の壁で一部吸収されるために弱くなりますが、容器内の物体の有無やその密度の大小によっても強度が変化します。もちろん物体の密度が大きい程ガンマ線の強度は弱くなります。これはガンマ線密度計の原理でもあります。検出器に到達したガンマ線の強度すなわち検出器からのパルスの計数率を知ることで、容器内の物体の有無や密度が判りますから、計数率を容器が空のときと満のときで較正しておけば、物体が線源部〜本体部を結ぶガンマ線ビームラインの上下いづれにあるかを知ることができます。
B粉体や粘性の大きいものは LOWとHIGH
の中間レベルでトリップをとる。中間状態の
概略は 4/20mA出力でも判断できる。 |
Cタンク径が大きいとき挿入型線源の利用
(線源挿入専用スリーブの設置) |
|
Dタンクが大きいとき挿入型線源の利用
(カクハン機軸内に線源を設置)
|
|
またビームラインを物体のレベルにたいしてやや傾けておいたときには空・満だけでなく物体レベルの中間位置を知ることもできます(レベル計)。 しかし、後者のときには満に近いときにも相応のガンマ線強度が必要であるため、前者に比べて容器直径や壁厚また内容物の密度などに制約があります。
@タンク径が小さいとき

Aタンクが大きいとき 挿入型線源の利用

Bタンク径が大きくカクハン軸内が利用できるとき挿入型線源の利用

なお、レベルスイッチと云っても、容器内の物体は必ずしも水のように粘性の少ない流体とは限らず、粘性の大きいもの、泡の多いもの、あるいは微粉体であることが多いようです。ガンマ線レベルスイッチは、むしろこのような対象物にその特長を生かされるというべきかも知れません。これらの物体では水平で明確な境界線はみとめられず、したがって満と空の中間に巾広い中間領域が存在します。満と空の中間の、ある実効密度をもつレベルを、弁別レベルとしなければなりません。
GL−1500では、このようなレベルを自動的に設定するようになっています。レベルスイッチでもレベル計でも(特にレベル計では)線源位置と検出器位置の距離を最小限度まで短く配置することが肝要です。タンクの外径は小さくできないため、この場合は挿入型線源オプションを考慮する必要があります。(事前に御相談下さい)
GL−1500においては、長時間メンテナンスフリーで御使用いただくために次のような対策がなされています。
一つ目は温度条件の変化や部品の劣化に耐えるためのドリフト対策です。較正作業により一旦設定された満・空の計数率は、再較正なしで長時間維持されなければなりませんが、もし検出器のゲインが変化するとこれは保てなくなります。検出器のゲインを使用者が再調整することなしに、長時間一定に保つことが必要です。GL−1500では、放射線がもつ固有のエネルギー値(物質定数)を基準として、自動安定化が図られていますから、安定化回路が故障しない限り原理的には何年でもゲインは一定に保たれています。
二つ目は放射線源の強度の減衰対策です。放射線源は、固有の半減期で減衰します。(この減衰率もまた物理定数の1つで、線源の核種によって厳密に定まっており、環境条件で変化することはありません。)強度の減衰はそのままパルス計数率の減衰になりますから、このままでは前者と同様に、設定された計数率、ひいては弁別レベルの変化につながります。GL−1500では内部のカレンダー時計を用いて、測定されたパルス計数率をいつも一定の基準日に換算する事により減衰を補正しています。
次にガンマ線レベル計に特長的なレベル弁別能と積算時間の関係についてのべます。ガンマ線のパルス計数率の差からレベルを計測するというのがガンマ線レベル計の原理ですから、もし計数率が変動すると当然計測レベル値が変動します。よく知られているように、放射線には「ゆらぎ」と呼ばれる現象があり、たとえばある一定のガンマ線源からのガンマ線強度を検出器で測った場合、そのパルス計数率は、一定値の上下にある巾をもってたえず変動しています。(これはガンマ線源から放出されるガンマ線の強度がそのように変動しているからです。)これを「ゆらぎ」と呼びますが、これは検出器やその環境のせいで起こる不安定とは異なり、厳密な物理法則によって起こっています。すなわち、計数率が高い程ゆらぎの巾は小さく、また計数率が一定のときは、この計数率を一定時間平均してやると、その平均した時間が長い程巾は小さくなります。この平均化時間のことをここでは積算時間と呼びます。 結論的に云えば、弁別能の良さはパルス計数率を高くする程または積算時間を大きくする程良くなります。その代わり積算時間を大きくすればレベル変動に対する応答時間は長くなります。使用に際しては、線源と検出器の間の距離を小さく据付けることによってなるべく計数率が高くなるようにすると共に、この弁別能力と積算時間(応答時間)のかね合いを正しく選ぶことが大切です。 GL−1500では、この弁別レベル設定に際してその設定条件を自動的に最適化するプログラムがついていますから、これを利用して設定を容易に実施することができます。